Device for developing movements in the finger joints of the hand
- Authors: Nettov G.G.1
-
Affiliations:
- Kazan Research Institute of Traumatology and Orthopedics
- Issue: Vol 68, No 3 (1987)
- Pages: 232-232
- Section: Articles
- Submitted: 08.01.2022
- Accepted: 08.01.2022
- Published: 15.06.1987
- URL: https://kazanmedjournal.ru/kazanmedj/article/view/96107
- DOI: https://doi.org/10.17816/kazmj96107
- ID: 96107
Cite item
Full Text
Abstract
After phalangeal fractures and injuries to the tendon-ligament apparatus of the fingers, restoration of movements in the finger joints is very difficult. In spite of many proposed devices and splints, it is not yet possible to achieve differentiated development of finger movements.
For the purpose of differentiated development of movements in the interphalangeal joints of the fingers with the participation of the patient himself, a special device is proposed.
Keywords
Full Text
После переломов фаланг пальцев и повреждений их сухожильно-связочного аппарата восстановление движений в суставах пальцев представляет значительные трудности. Несмотря на множество предложенных приспособлений и шин [1], достичь дифференцированной разработки движений пальцев пока не удается.
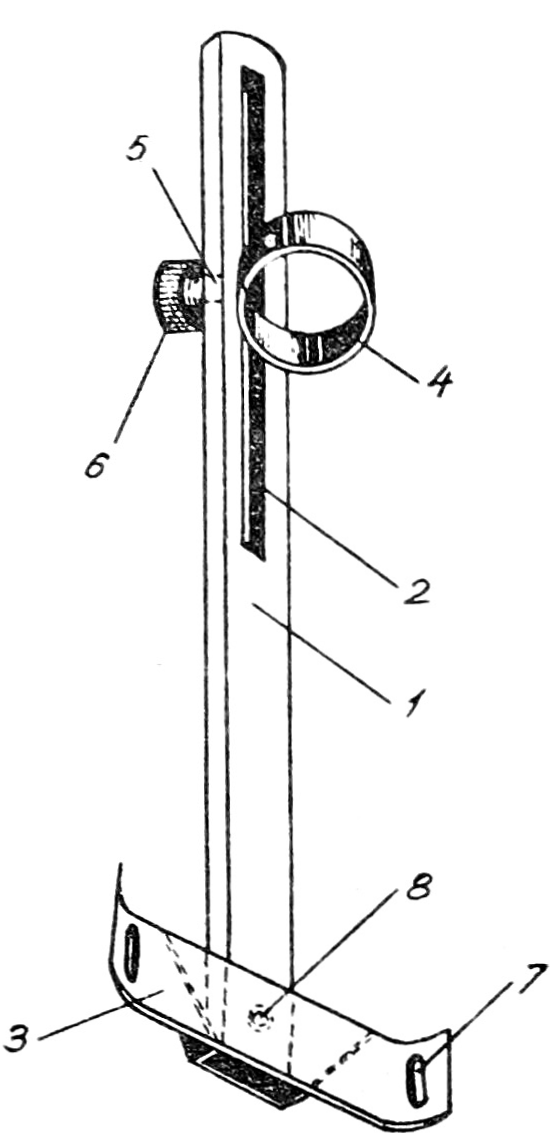
С целью дифференцированной разработки движений в межфаланговых суставах пальцев кисти с участием самого больного предлагается специальное устройство (см. рис.). Оно состоит из основания (7) с продольным пазом (2) на дистальном конце и браслетом (5) на проксимальном конце основания. В продольном пазе крепится кольцо (4) с помощью резьбового штыря (5) и винта (6). На концах браслета имеются поперечные прорези (7) для крепления. Основание соединено с браслетом шарниром (8).
Рис. 1. Устройство для разработки движений в суставах пальцев кисти.
Устройство применяют следующим образом. Основание накладывают продольно на тыльную поверхность кисти и крепят на уровне лучезапястного сустава браслетом, ремешком или бинтом, проведенным через прорези. Наличие шарнира позволяет устанавливать основание вдоль разрабатываемого пальца. При разработке первого пальца используют устройство с более вогнутым браслетом. На разрабатываемый палец надевают кольцо и фиксируют последнее к основанию через паз с помощью резьбового штыря и винта. Наличие продольного паза дает возможность перемещать кольцо на тот уровень, который необходим для разработки нужного межфалангового сочленения. При разработке движений в средней фаланге кольцом фиксируют основную фалангу, а при разработке движений в ногтевой фаланге — среднюю фалангу.
Устройство успешно апробировано у 12 больных с последствиями травмы кисти; у всех получены хорошие клинические результаты. Перед лечебной гимнастикой с использованием данного устройства целесообразно назначение парафиновых или озокеритовых аппликаций для достижения наилучшего результата.
About the authors
G. G. Nettov
Kazan Research Institute of Traumatology and Orthopedics
Author for correspondence.
Email: info@eco-vector.com
Russian Federation, Kazan
References
Supplementary files



