Device for the correction of proxi-mal part of femur
- Authors: Akhtyamov I.F.1, Gafarov K.Z.1, Andreev P.S.1
-
Affiliations:
- Kazan branch of the All-Union Kurgan Scientific Center "Restorative Traumatology and Orthopedics"
- Issue: Vol 72, No 6 (1991)
- Pages: 417-420
- Section: Theoretical and clinical medicine
- Submitted: 27.10.2021
- Accepted: 27.10.2021
- Published: 15.12.1991
- URL: https://kazanmedjournal.ru/kazanmedj/article/view/83881
- DOI: https://doi.org/10.17816/kazmj83881
- ID: 83881
Cite item
Full Text
Abstract
In the practice of surgeons there are two difficulties in the correction of proximal part of femur: the true interorientation of bone fragments and their fixation in osteosynthesis. The authors have developed a device for the determination of coordinates of proximal part of femur and a device for the fixation of bone fragments. The principal diagrams of devices and their application methods are presented in this paper. The use of these devices allowed to perform the operative correction of proximal part of femur in 54 patients.
Keywords
Full Text
В хирургической практике перед ортопедом часто возникает проблема точности коррекции шеечно-диафизарного угла (ШДУ) и угла антеторсии (АТ) проксимального отдела бедра. Как правило, физиологически обусловленные параметры бедренного сегмента тазобедренного сустава восстанавливаются в процессе деторсионноваризирующей межвертельной остеотомии при подвывихе, врожденном и патологическом вывихах бедра, асептическом некрозе и юношеском эпифизеолизе головки бедра. Перед хирургом возникают две сложности: жавильная взаимоориентация костных фрагментов и удержание их в нужном положении в процессе остеосинтеза. Обычно для контроля коррекции проксимального отдела бедра используют систему меток, взаимоориентацию спиц или различные устройства [1, 2, 3]. Последние, по нашему мнению, наиболее приемлемы для достижения этой цели и позволяют снизить риск операционных ошибок. Поскольку серийного производства подобных устройств в нашей стране практически не существует, нами разработано и применяется устройство для определения координат проксимального отдела бедра (авторское свидетельство № 1586694).
Рис. 1
Устройство (рис. 1) содержит основание, расположенные на нем во взаимно перпендикулярных плоскостях два транспортира (1 и 2) и спицу (3), связанную с транспортиром (2) посредством ползунка (10). Основание выполнено в виде соединенных и смещаемых относительно друг друга пластин (4 и 5) с соосными прорезями (6 и 7) и линейной шкалой (8). Транспортир ( 1 ) закреплен одним краем на пластине (4) и выполнен с дугообразной прорезью (9), в которой находится с возможностью перемещения транспортир (2). Спица (3) расположена на транспортире (2) с помощью ползуна (10) с отверстием под спицу. Транспортир (2) может быть выполнен в виде двух половин, соединенных осью квадратного сечения, располагаемой в прорези (9).
Устройство используют следующим образом. Перед операцией по рентгенограмме определяют степень необходимой коррекции ШДУ и АТ (рет-роторсии). При проведении операции по поводу врожденного вывиха бедра с высоким стоянием головки проводят разрез мягких тканей с обнажением над- и подвертельной области. После артротомии вдоль проксимального отдела бедренной кости (11) по наружной поверхности накладывают основание устройства таким образом, чтобы проксимальный конец пластины (4) был у места предполагаемой остеотомии бедренной кости. Дистальный конец пластины (4), установленный на делении линейной шкалы (8) пластины (5) основания, указывает на степень необходимого укорочения бедренной кости с целью декомпрессии сустава. Степень необходимого укорочения рассчитывают перед операцией по прямой рентгенограмме тазобедренного сустава и величину его определяют на основании устройства путем перемещения пластин (4 и 5) относительно друг друга с точкой отсчета от края пластины (5). Сквозь ползун ( 10). транспортира (2) проводят спицу (3) так, чтобы место ввода в область большого вертела (12) располагалось на 1 см выше места предполагаемой остеотомии и находилось в одной плоскости с транспортиром (1).
Определяют показания на транспортире (1) по положению спицы (3) относительно его шкалы. Величина в градусах соответствует величине ШДУ до коррекции. Нулевое значение транспортира ( 1 ) расположено у места его крепления к пластине (4). Значение на транспортире (2) принимают за нулевое. Для удобства проведения остеотомии устройство на время коррекции удаляют, но предварительно оставляют метку на проксимальном отделе бедра по прорези (7) пластины (5). Спицу (3) можно удалить или оставить на месте. После проведения коррекции ШДУ, АТ и укорочения бедра на требуемые величины производят коррекции с помощью устройства. Если спица (3) удалена, то ее вводят в ранее сформированный канал в вертельной области (12) бедра. На спицу (3) надевают ползун (10) транспортира (2).
Если производят устранение патологической АТ, то ползун (10) переводят на другую половину транспортира (2), при этом последний передвигают по окружности с помощью оси соединяющей половины транспортира Л) по прорези (9) транспортира (1). (основание устройства устанавливают на прежнее место на проксимальном отделе бедра (11), а пластины (4 и 5) передвигают относительно друг друга так, чтобы их края совпадали. В этом случае проксимальный (близкий к суставу) конец пластины (4) вновь, занимает место у линии остеотомии бедра. Снимают показания с транспортира (2) по расположению спиц (3) и с транспортира ( 1 ) по положению транспортира (2) относительно его градуированной шкалы.
Разница показаний на транспортире (2) до и после коррекции позволят точно определить степень коррекции торсии, а на транспортире (1) — степень коррекции ШДУ. Например, если до коррекции на транспортире ( 1) определяют величину в 30°, а после коррекции— 60°, то степень коррекции составляет 30°. Если показания на транспортире (2) до операции принять за 0°, то после коррекции величина в градусах на этом транспортире и будет искомой величиной степени коррекции торсии проксимального отдела бедра. При несоответствии полученных данных проводят докоррекцию. После завершения коррекции проксималыадю отдела бедра вправляют головку бедра, в вертлужную впадину. Фрагмент бедренной кости фиксируют металлической пластинкой или пучком спиц.
Аналогично контролируют коррекцию деформации проксимального отдела бедра при другой патологии тазобедренного сустава. Если в ходе операции не требуется произвести укорочение, то пластины (4 и 5) основания до операции не разводят.
Костные фрагменты после корригирующей остеотомии удержать в процессе. остеосинтеза довольно сложно. Обычно для этой цели используют два костодержателя, что сковывает действия как хирурга, так и ассистента. Различный диаметр костных фрагментов проксимального отдела бедра, необходимость точной коррекции ПІДУ и АТ, относительно небольшое операционное поле явились показаниями к разработке устройства для фиксации костных фрагментов (авторское свидетельство № 1526674).
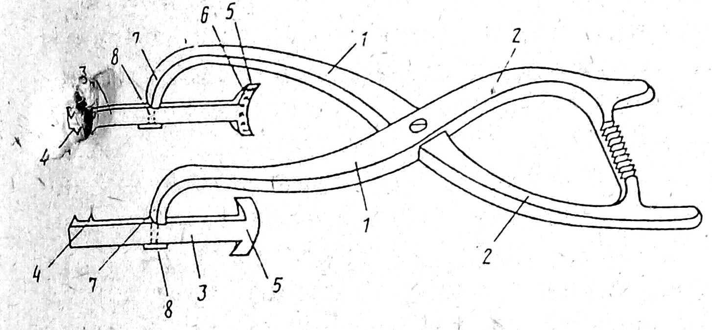
Рис. 2
Устройство (рис. 2) содержит две шарнирно соединенные бранши ( 1) с рукоятками (2) и рабочими губками, выполненными на одних концах в виде планок (3) с заостренными шипами (4) с внутренней стороны, а на другом— с С-образными пружинящими фобами (5), имеющими насечки (6) внутренней поверхности. Концы бранш (7) Г-образно изогнуты и расположены в плоскостях, параллельных плоскости симметрии устройства, каждая планка (3) шарнирно соединена (8) с Г-образно изогнутыми браншами (7).
Рис. 3.
Устройство для фиксации костных фрагментов используют следующим образом. Наружным разрезом достигают проксимального отдела бедренной кости. Отслаивают надкостницу и проводят корригирующую межвертельную остеотомию бедренной кости. По окончании коррекции рабочие губки (3) устройства накладывают с боковых поверхностей так, чтобы шипы (4) фиксировали область большого вертела, а скобы (5) — область диафиза бедра, при этом пружинящие скобы (5), опираясь в округлый диафиз кости, расходятся одна относительно другой и плотно охватывают проксимальный фрагмент бедра. Устройство при этом накладывают вдоль оси бедренной кости, а ручки направляют в сторону коленного сустава (рис. 3). Мягкие ткани, сдерживаемые Г-образно изогнутыми браншами (7), остаются вне операционного поля. Между браншами (1) пространство над проксимальным и дистальным фрагментами бедренной кости и местом их коррекции свободно. Фрагменты фиксируют Г-образной пластинкой (пучком спиц). После остеосинтеза устройство удаляют и операционную рану ушивают наглухо.
Разность диаметров области большого вертела и области диафиза бедра не препятствует работе устройства, так как планки (3) занимают наиболее оптимальное положение благодаря их шарнирному соединению (8). Пружинящие скобы (5) позволяют при любом диаметре кости получить плотное охватывание и фиксацию фрагмента, а насечки (6) предотвращают его смещение. Г-образно изогнутые концы браншей (7) позволяют удерживать мягкие ткани вне операционного поля, что защищает их от излишней травматизации и позволяет свободно мани-; пулировать между браншами (1) при установке фиксирующей пластины (проведении спиц). Устройство дает возможность осуществлять фиксацию остеотомированных фрагментов одному хирургу без помощи ассистентов с гарантией надежной фиксации фрагментов в правильном положении.
Универсальность устройства обусловлена наличием сменных рабочих губок. Благодаря их различному размеру, названное устройство можно применять для фиксации костных фрагментов как у детей, так и у взрослых.
В детском отделении КФ ВКНЦ «ВТО» эти устройства были использованы при лечении 54 больных с врожденным вывихом и подвывихом бедра, болезнью Пертеса и coxa vara, а также с неменьшим успехом — при лечении деформаций других трубчатых костей. Надежность фиксации обеспечивает безошибочную коррекцию всех видов деформаций.
About the authors
I. F. Akhtyamov
Kazan branch of the All-Union Kurgan Scientific Center "Restorative Traumatology and Orthopedics"
Author for correspondence.
Email: info@eco-vector.com
Russian Federation, Kazan
K. Z. Gafarov
Kazan branch of the All-Union Kurgan Scientific Center "Restorative Traumatology and Orthopedics"
Email: info@eco-vector.com
director - Dr. med. sciences
Russian Federation, KazanP. S. Andreev
Kazan branch of the All-Union Kurgan Scientific Center "Restorative Traumatology and Orthopedics"
Email: info@eco-vector.com
Russian Federation, Kazan
References
Supplementary files





