Method of tendon suturing
- Authors: Nettov G.G.1
-
Affiliations:
- Kazan Research Institute of Traumatology and Orthopedics
- Issue: Vol 67, No 3 (1986)
- Pages: 219-220
- Section: Articles
- Submitted: 30.04.2021
- Accepted: 30.04.2021
- Published: 15.05.1986
- URL: https://kazanmedjournal.ru/kazanmedj/article/view/70098
- DOI: https://doi.org/10.17816/kazmj70098
- ID: 70098
Cite item
Full Text
Abstract
There are more than 100 known ways of connecting tendon ends, but all of them have one significant disadvantage: the suturing causes significant traumatization of the tendon ends, which leads to the formation of rough scar tissue adhesions between the suture and the surrounding tissues. To reduce the traumatic nature of the intervention, the distal end of the injured tendon is retrogradely tightened with a temporary U-shaped suture to the place where the tendon ends are connected, and the latter are fixed with an eight-shaped suture.
Keywords
Full Text
Известно более 100 способов соединения концов сухожилий, однако все они страдают одним существенным недостатком: при накладывании швов происходит значительная травматизация концов сухожилий, что ведет к образованию грубых рубцовых спаек между швом и окружающими тканями. Для уменьшения травматичности вмешательства дистальный конец поврежденного сухожилия ретроградно подтягивают временным П-образным швом к месту соединения концов сухожилий, а последние закрепляют восьмиобразным швом.
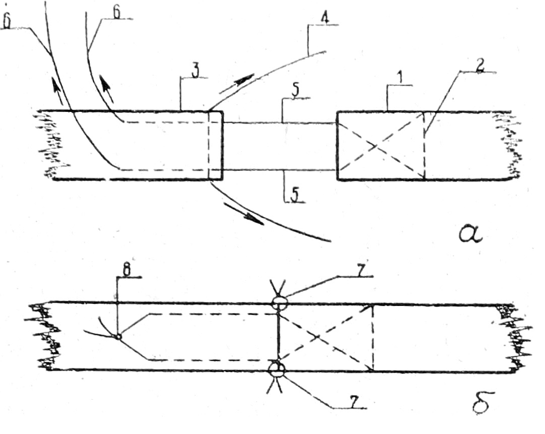
Рис. 1
Этапы осуществления этого способа изображены на рис. 1 (а, б). На проксимальный конец (1) поврежденного сухожилия накладывают восьмиобразный шов (2), свободные концы нити (5) выводят в рану. Далее через дополнительный разрез освобождают дистальный конец (3) сухожилия, который подтягивают временным П-образным швом (4) и, используя его как держалку, через дистальный конец (3) сухожилия проводят свободные концы (5) восьмиобразного шва (2) и выводят их (б) из сухожилия. Свободные концы П-образного шва (4) ретроградно выводят в рану. Путем натяжения свободных концов нитей (4 и 6) плотно сближают поврежденные концы сухожилий (1, 3). Не ослабляя натяжения нитей накладывают на концы сухожилий боковые адаптирующие швы (7). П-образный шов-держалку удаляют, свободные концы (6) восьмиобразного шва завязывают в узел (5). Атравматичность сближения концов сухожилий, отсутствие накожных фиксирующих швов способствуют меньшей спайке сухожилия с окружающими тканями.
Способ успешно апробирован в отделении хирургии кисти при лечении 16 больных, которым сшито указанным способом 27 сухожилий. У всех пациентов получены хорошие клинико-функциональные результаты. Клинические испытания показали атравматичность данного способа при соединении поврежденных концов сухожилий, сохранение блоковидных связок и хорошую адаптацию концов сухожилий.
About the authors
G. G. Nettov
Kazan Research Institute of Traumatology and Orthopedics
Author for correspondence.
Email: info@eco-vector.com
Russian Federation
References
Supplementary files
