К вопросу об оценке эффективности лечения заболеваний тазобедренного сустава
- Авторы: Гимелльфарб А.Л.1, Караллин А.Н.1
-
Учреждения:
- Казанский научно-исследовательский институт травматологии и ортопедии
- Выпуск: Том 55, № 2 (1974)
- Страницы: 40-41
- Раздел: Статьи
- Статья получена: 03.03.2021
- Статья одобрена: 03.03.2021
- Статья опубликована: 31.03.1974
- URL: https://kazanmedjournal.ru/kazanmedj/article/view/62564
- DOI: https://doi.org/10.17816/kazmj62564
- ID: 62564
Цитировать
Полный текст
Аннотация
Исходя из концепции, что на функциональное состояние нервной системы оказывают влияние не только экстеро- и интеро-, но также и проприоцептивные раздражения, мы при изучении неврологических синдромов, возникающих вследствие патологии тазобедренного сустава, исследовали опорную и динамическую функции нижних конечностей.
Ключевые слова
Полный текст
Исходя из концепции, что на функциональное состояние нервной системы оказывают влияние не только экстеро- и интеро-, но также и проприоцептивные раздражения, мы при изучении неврологических синдромов, возникающих вследствие патологии тазобедренного сустава, исследовали опорную и динамическую функции нижних конечностей.
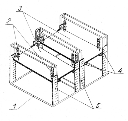
Предложенный одним из авторов данного сообщения (А. Н. Каралин, 1971) аппарат позволяет одномоментно определять опорную и динамическую функцию обеих нижних конечностей.
Аппарат (см. рис.) состоит из рамы-основания 1, к которому посредством восьми спиральных тарированных пружин 2 подвешены две опорные площадки 3. К опорным площадкам фиксированы восемь индикаторных стрелок 4, которые перемещаются вдоль линейных шкал 5.
В момент исследования пациент становится на опорные площадки, которые, растягивая пружины, опускаются. Степень смещения площадок соответствует величинам опоры каждой из нижних конечностей, что регистрируется на шкалах. Разница суммарных показаний между шкалами правой и левой площадок характеризует опорную функцию, а разница суммарных показаний между шкалами передних и задних отделов площадок является показателем динамической функции.
Объективная оценка нарушений статики, их степени и причин является весьма важной как в теоретическом, так и в практическом отношении. Она позволяет в динамике осуществлять наблюдение за скоростью и степенью восстановления функции конечностей. Статико-динамическая функция нижних конечностей при исследовании ее на аппарате Каралина выражается в абсолютных условных единицах, так как при этом способе используются тарированные пружины.
Для установления эталонных величин статико-динамических нагрузок нами обследовано 100 человек со здоровыми нижними конечностями. При этом обнаружено, что разница в величине нагрузки на конечности (или показатель опорной функции — ОФ) равна 2,49 ± 2 ед. Разница в величине нагрузки на передний и задний отделы стоп (или показатель динамической функции — ДФ) равна 4,8 4=2,7 ед. С помощью аппарата Каралина обследовано 70 больных (мужчин — 34, женщин — 36), в том числе 35 с деформирующими артрозами, 11 с анкилозами (костными и фиброзными) в порочном положении, 12 с врожденными и патологическими вывихами бедра, неартрозами и 12 с ложными суставами, парусными деформациями шейки бедра и др.
Статико-динамические нарушения у больных касались главным образом опорной функции. Показатели ее в значительной степени превышают средние величины за счет выраженного снижения опоры конечности на стороне заболевания. В то же время динамическая функция почти не изменена. Данные о величине статико-динамических нарушений представлены в таблице.
Показатели статико-динамической функции у больных с заболеваниями и последствиями повреждений тазобедренного сустава (в абсолютных условных единицах)
Функция |
Пол | При коксартрозах | При анкилозах | При вывихах | При прочих патологических процессах |
Опорная
Динамическая
| М Ж М ж | 16,2 12,0 4,1 3,9 | 8,8 15,2 5,6 5,4 | 9,0 12,3 2,7 5,2 | 12,3 16,4 5,0 2,5 |
Анализ полученных данных показывает, что нарушение опорной функции при «свежих» патологических процессах зависит от болевого синдрома, а при длительном течении заболевания-от порочной установки конечности. Динамическая функция страдала у единичных больных, что не отразилось на величинах средних показателей. Изменения динамической функции чаще можно было отметить у лиц с наименее длительными сроками заболевания. Очевидно, за сравнительно короткое время не наступило адаптации к новым статическим условиям.
Не вызывает сомнений, что повторные исследования статико-динамической функции нижних конечностей на различных сроках после оперативного или консервативного лечения смогут дать информацию об эффективности того или иного вмешательства, того или иного метода консервативного лечения.
Об авторах
А. Л. Гимелльфарб
Казанский научно-исследовательский институт травматологии и ортопедии
Автор, ответственный за переписку.
Email: info@eco-vector.com
Россия
А. Н. Караллин
Казанский научно-исследовательский институт травматологии и ортопедии
Email: info@eco-vector.com
Россия
Список литературы
- Каралин А. Н. Классификация, диагностика и исходы лечения переломов костей таза. Автореф. канд. дисс., Казань, 1971.
Дополнительные файлы




