Контейнер для транспортировки крови
- Авторы: Беляев В.Я.1, Ишуев С.X.1
-
Учреждения:
- СКТБ «Медфизприбор»
- Выпуск: Том 47, № 1 (1966)
- Страницы: 79-80
- Раздел: Статьи
- Статья получена: 05.01.2021
- Статья одобрена: 05.01.2021
- Статья опубликована: 29.01.1966
- URL: https://kazanmedjournal.ru/kazanmedj/article/view/57475
- DOI: https://doi.org/10.17816/kazmj57475
- ID: 57475
Цитировать
Полный текст
Аннотация
Современные «Правила транспортировки и хранения крови» требуют постоянной оптимальной температуры -f-4°, +6° С. При длительной транспортировке (6—8 часов) допускаются колебания температуры от +3° С до 4-12° С.
Ключевые слова
Полный текст
Современные «Правила транспортировки и хранения крови» требуют постоянной оптимальной температуры -f-4°, +6° С. При длительной транспортировке (6—8 часов) допускаются колебания температуры от +3° С до 4-12° С. Поэтому для транспортировки крови требуется специальная изотермическая тара. Стандартные контейнеры, применяемые лечебными учреждениями, представляют собой теплоизолированный ящик, в который вместе с кровью помещается условий льдом, а для зимних — подогретой водой.
Однако при этом не обеспечивается полностью требуемый температурный режим для сохранения и транспортировки крови, чему способствует и отсутствие приборов контроля температуры в контейнере.
Предлагаемый контейнер обеспечивает поддержание оптимального температурного режима. В его основу заложен принцип поглощения или выделения тепла веществом при переходе из одного агрегатного состояния в другое и свойство саморегулирования температуры в точке плавления. В качестве рабочего тела выбраны такие вещества, которые имеют температуру плавления Тпл. в диапазоне +3°, +120С и сравнительно большую теплоту плавления Qпл.. Наиболее удобны муравьиная кислота Tпл. = 8,4° С, Qпл. = 66 ккал/кг, уксусная кислота Тпл.= +4° C,Q™.= 44 ккал/кг, олеиновая кислота Ьл. = +4°,+5° С, Q пл. =40 ккал/кг и некоторые другие вещества.
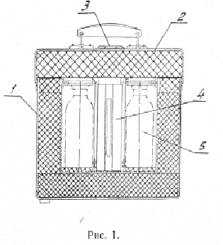
Контейнер (рис. 1) состоит из корпуса (1) с изоляцией из пенопласта, крышки (2) с встроенным в нее биметаллическим термометром (3) для контроля температуры в контейнере, герметически закрытого металлического трехлитрового сосуда (4), заполненного рабочей жидкостью с встроенным биметаллическим термометром для контроля за температурой. Штрих-пунктиром показаны сосуды с кровью (5).
Необходимость применения нержавеющей стали для сосуда и трудность получения в чистом виде муравьиной кислоты ограничивают возможность ее применения. В опытных образцах в качестве аккумуляторов тепла нами использовались бензол и олеиновая кислота.
Испытания контейнера дали следующие результаты (см. табл.).
Длительность сохранения стандартной температуры в контейнерах с бензольным или олеиновым термостатом
уо | наружного воздуха | Стабильность в пределах от +3 до +12°С в часах | |
термостат с бензолом | термостат с олеиновой кислотой | ||
| +40° | 12 | 15 |
| +20° | 21 | 26 |
| -20° | 16 | 20 |
| —30° | 12 | 15 |
Для зарядки контейнера в зимнее время температура термостатирующего металлического сосуда — 4° доводится до + 12° С путем помещения его в воду или под струю теплой водопроводной воды. Затем в контейнер закладываются ампулы с кровью и термостат. Крышка контейнера закрывается, и он готов к транспортировке.
В летнее время зарядка контейнера производится так же, с той разницей, что перед зарядкой температура термостата доводится до +3° С, что достигается охлаждением ее в холодильнике или льдом. Температура контролируется по встроенному в металлический сосуд термометру.
Вес контейнера — 6 кг. Вес транспортируемой крови — 2 кг. Размер: 480 X 330 X X 270 мм.
Об авторах
В. Я. Беляев
СКТБ «Медфизприбор»
Автор, ответственный за переписку.
Email: info@eco-vector.com
Россия
С. X. Ишуев
СКТБ «Медфизприбор»
Email: info@eco-vector.com
Россия
Список литературы
Дополнительные файлы





