Лечение больных с открытыми переломами длинных трубчатых костей с помощью нового аппарата внешней фиксации
- Авторы: Айдаров Р.Б.1,2
-
Учреждения:
- Казанский институт усовершенствования врачей имени В. И. Ленина
- больница скорой медицинской помощи
- Выпуск: Том 68, № 6 (1987)
- Страницы: 426-429
- Раздел: Статьи
- Статья получена: 18.01.2022
- Статья одобрена: 18.01.2022
- Статья опубликована: 15.12.1987
- URL: https://kazanmedjournal.ru/kazanmedj/article/view/96691
- DOI: https://doi.org/10.17816/kazmj96691
- ID: 96691
Цитировать
Полный текст
Аннотация
Проблема лечения больных с открытыми метадиафизарными переломами длинных трубчатых костей является актуальной в связи с увеличением частоты этих повреждений и их особой тяжестью.
С 1978 по 1983 г. в травматологических отделениях больницы скорой медицинской помощи находилось 213 больных с открытыми метадиафизарными переломами длинных трубчатых костей. Мужчин было 175 (82%), женщин — 38 (18%). Большинство (72,7%) составляли лица наиболее трудоспособного возраста — от 21 до 50 лет. В состоянии алкогольного опьянения поступили 45 (21,4%) человек.
Ключевые слова
Полный текст
Проблема лечения больных с открытыми метадиафизарными переломами длинных трубчатых костей является актуальной в связи с увеличением частоты этих повреждений и их особой тяжестью.
С 1978 по 1983 г. в травматологических отделениях больницы скорой медицинской помощи находилось 213 больных с открытыми метадиафизарными переломами длинных трубчатых костей. Мужчин было 175 (82%), женщин — 38 (18%). Большинство (72,7%) составляли лица наиболее трудоспособного возраста — от 21 до 50 лет. В состоянии алкогольного опьянения поступили 45 (21,4%) человек.
О локализации повреждений можно судить по данным табл. 1.
Анализ клинических наблюдений убеждает нас в том, что больные с открытыми переломами требуют повышенного внимания, особенно в периоды, опасные возможным возникновением гнойных осложнений, которые в процессе вмешательства прямо или косвенно могут влиять на исход лечения.
Удельный вес осложнений послеоперационного периода при первичной хирургической обработке открытых метадиафизарных переломов приведен в табл. 2.
Анализ исходов лечения больных с открытыми переломами длинных трубчатых костей выявил, что большее значение имеет не столько первоначальный объем, сколько количество оставшихся в ране полностью или частично поврежденных тканей. Большую роль в профилактике осложнений играют хорошая репозиция и стабилизация отломков, особенно аппаратами внешней внеочаговой фиксации, обеспечивающими достаточный обзор поврежденного сегмента, стабилизацию, возможность ранней активизации больного, сокращения разрыва между периодом срастания и сроком восстановления трудоспособности. Учитывая простоту полной репозиции, возможность визуального доступа к месту перелома при наличии открытой раны, а также исходя из принципа «функциональный результат — через анатомический», предлагаем первичную хирургическую обработку (туалет раны, ревизия, радикальное, но вместе с тем экономное иссечение поврежденных тканей, активное дренирование в показанных случаях, закрытие раны и т. д.) заканчивать полной репозицией и фиксацией костных отломков.
При анализе причин тяжелых гнойно-некротических осложнений мы обратили внимание на роль анестезии при проведении первичной хирургической обработки. Так, из 27 больных, леченных более 100 дней, первичная хирургическая обработка под местной анестезией была произведена у 15 пострадавших (средний койко-день — 191,3), а под общим обезболиванием — у 12 (средний койко-день — 154,0).
По данным Г. А. Илизарова и соавт. [1], при лечении открытых переломов после первичной хирургической обработки предпочтение отдается методу внеочагового чрескостного остеосинтеза. Экономический эффект при лечении открытых переломов с применением этого метода остеосинтеза составил 5373,8 рубля на одного больного.
С 1984 г. кроме традиционных методов иммобилизации в комплексе лечения больных с открытыми метадиафизарными переломами длинных трубчатых костей мы стали применять аппараты внешней фиксации собственной конструкции (27 случаев). Особенности конструкции и метода ее использования состоят в следующем. Спицы с упорами проводим параллельно друг другу попарно через каждый костный фрагмент, при этом упоры каждой пары спиц располагаем на противоположных поверхностях кости, а оси спиц — под углом к оси кости, затем натягиваем и закрепляем спицы на устройстве.
Для осуществления данного способа устройство содержит пазы, выполненные в прямолинейных концевых частях дуг, параллельно расположенных и попарно скрепленных между собой резьбовыми штангами. В пазах дуг крепим лапки, направленные в разные стороны и перпендикулярно к плоскости дуг; спицедержатели фиксируем в пазах лапок, а пары скрепленных дуг — резьбовыми штангами, расположенными между ними.
Через один из костных фрагментов проводим спицу с упором под углом к оси кости. На расстоянии, превышающем длину лапки устройства не менее чем на 2 см, через этот же фрагмент пропускаем вторую спицу с упором параллельно первой и располагаем ее упор на противоположной поверхности кортикального слоя. Аналогичным способом проводим спицы и через второй костный фрагмент. Для большей стабильности фиксации спицы, проходящие через один костный фрагмент, размещаем на максимально возможном удалении друг от друга, но не ближе 1—2 см к краю кости. Угол между осью спицы и костного фрагмента для бедренной кости взрослого составляет 15±3°, для большеберцовой и плечевой костей — 20±3°, для костей предплечья — 25±3°.
Дуги устройства посредством резьбовых штанг должны находиться на таком расстоянии друг от друга, чтобы концы всех спиц располагались на уровне соответствующих спице держателей. Спицы в спицедержателях натягиваем и закрепляем.
При открытых переломах или наличии ран мягких тканей устройство устанавливаем с таким расчетом, чтобы рана была обращена в сторону открытой части дуг, что облегчает манипуляции (перевязки, орошения, дренирование раны и т. д.), понижая их травматичность.
Репозицию костных фрагментов при использовании предлагаемых способа и устройства осуществляем следующим образом. Грубые смещения устраняем до проведения спиц вручную. После установки устройства смещение по ширине в плоскости спиц ликвидируем натяжением той спицы, упор которой расположен на стороне смещения, и уменьшаем давление второй спицы (манипуляции выполняем в дистальной паре дуг), а смещение по ширине в плоскости, перпендикулярной плоскости спиц,— перемещением лапок в пазах дистальной пары дуг в соответствующем направлении.
Угловое смещение в плоскости спиц устраняем с помощью резьбовых штанг между парами дуг, расположенных возле их прорезей, и путем увеличения давления одного упора и уменьшения давления другого упора, расположенных на спицах разных пар дуг и симметричных к плоскости перелома (то есть на средних или на крайних дугах устройства). Репозицию углового смещения в плоскости, перпендикулярной плоскости спиц, проводим с помощью резьбовой штанги, расположенной между парой дуг на их вершинах, и перемещением лапок в прорезях одноименных (крайних или средних) дуг относительно плоскости перелома.
Ротационные смещения ликвидируем перемещением лапок в прорезях дистальной пары дуг и перестановкой резьбовых штанг между парами дуг (на проксимальной дуге дистальной пары дуг), а смещения по длине — сближением или удалением пар дуг с помощью резьбовых штанг, расположенных между ними.
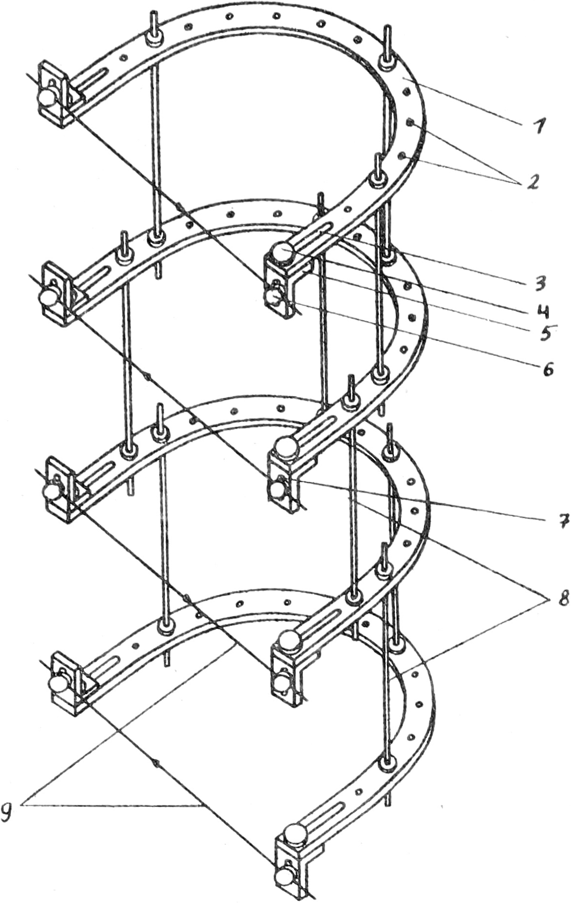
На рис. 1 изображено само устройство, на рис. 2 — схема проведения спиц с упорами через костные фрагменты по предлагаемому способу.
Рис. 1.
Рис. 2.
Для повышения стабильности фиксации костных фрагментов в парах дуг при расположении упоров по первому варианту дуги в каждой паре сближаем между собой, а при расположении упоров по второму варианту, наоборот, удаляем их друг от друга (рис. 2). При этом упоры усиливают давление на кортикальный слой, а смещение фрагмента под давлением упора в противоположную сторону предотвращается расположением спицы под углом к оси фрагмента.
Устройство для остеосинтеза длинных трубчатых костей (рис. 1) содержит дуги (1), представляющие собой полукольца с удлиненными прямолинейными концевыми частями. В дугах имеются отверстия (2), а в концевых частях дуг расположены пазы (3). В последних посредством болтов с гайками (4) крепятся лапки (5), представляющие собой уголки, на одной стороне которых выполнены пазы (7) под спицедержатели (6). В спицедержателях фиксируются спицы с упорами (9). Лапки ориентированы на дугах в разные стороны. Дуги друг с другом и пары дуг между собой крепятся резьбовыми штангами (8), проведенными через отверстия.
Из 27 пострадавших 20 человек были прооперированы на сроках до 8 ч с момента травмы, 2 — до 3 сут, 3 — до 30 дней, один — через 56 дней и еще один — через 186 дней с момента получения травмы.
Время пребывания в травматологическом отделении (учитывались и сроки пребывания в реанимационном отделении) в зависимости от поврежденного сегмента показано в табл. 3.
Мы считаем, что в комплексе с другими мероприятиями ранняя репозиция и жесткая фиксация аппаратом внешней фиксации нашей конструкции позволили снизить количество осложнений и сократить время пребывания в стационаре пострадавших с открытыми метадиафизарными переломами длинных трубчатых
костей. Особенно тяжелую группу составили в лечебном плане больные, злостно уклонявшиеся от полного объема комплексного лечения. Двое из 27 больных были выписаны из стационара за нарушение внутрибольничного режима. Двое других после выписки из стационара не стали посещать поликлинику, что явилось причиной осложнений — нагноения мягких тканей в области прохождения спиц, остеомиелита.
ВЫВОДЫ
Таким образом, применение аппарата нашей конструкции на практике показало, что он прост в обращении, значительно облегчает наблюдение и местное лечение поврежденных тканей. Лечение больных с открытыми переломами длинных трубчатых костей с помощью аппаратов внешней фиксации более эффективно, чем традиционными способами.
Об авторах
Р. Б. Айдаров
Казанский институт усовершенствования врачей имени В. И. Ленина; больница скорой медицинской помощи
Автор, ответственный за переписку.
Email: info@eco-vector.com
Россия, Казань; Брежнев
Список литературы
- Илизаров Г. А., Попова Л. А., Шевцов В. И.//Ортопед, травматол.— 1986.— № 1.— С. 1—5.




