Device for obtaining mesh skin flaps
- Authors: Izmailov G.A.1, Garaev R.R.1, Sadykova L.M.1
-
Affiliations:
- Kurashov Kazan Order of the Red Banner of Labor Medical Institute
- Issue: Vol 70, No 6 (1989)
- Pages: 466-467
- Section: Articles
- Submitted: 26.02.2022
- Accepted: 26.02.2022
- Published: 15.12.1989
- URL: https://kazanmedjournal.ru/kazanmedj/article/view/101760
- DOI: https://doi.org/10.17816/kazmj101760
- ID: 101760
Cite item
Full Text
Abstract
When repairing skin with extensive skin defects, devices are usually used to obtain mesh grafts from skin flaps with different expansion coefficients. They consist of a cutting element, a supporting roller and a plate. As a cutting element they use special interchangeable knives, a roller with a continuous thread or safety razor blades installed in large numbers (from 50 to 250) perpendicularly to the axis of the rotating roller or to the supporting plate. The main disadvantage of these devices is the difficulty of blanking and changing the cutting elements, which is dangerous and requires not only considerable time, but also a certain qualification of medical personnel.
Keywords
Full Text
При восстановлении кожного покрова с обширными кожными дефектами обычно применяются устройства, позволяющие получать сетчатые трансплантаты из кожных лоскутов с различными коэффициентами расширения. Они состоят из режущего элемента, опорного валика и пластины. В качестве режущего элемента в них используются специальные сменные ножи, ролик с непрерывной резьбой или лезвия для безопасной бритвы, установленные в большом количестве (от 50 до 250) перпендикулярно к оси вращающегося валика или к опорной пластине. Основным недостатком этих устройств является трудность заготовки и смены режущих элементов, что опасно и требует не только значительной затраты времени, но и определенной квалификации медицинского персонала.
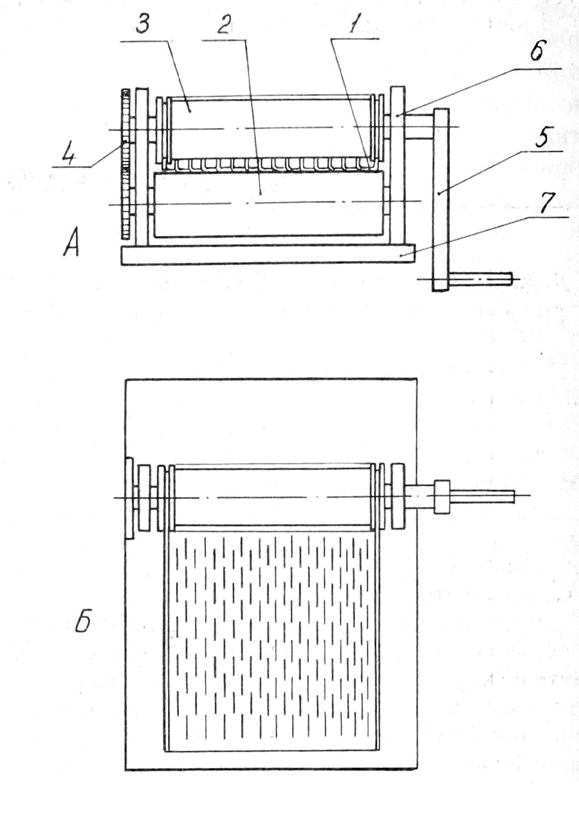
Для перфорации кожных лоскутов нами предложено устройство, содержащее пластину — дермоперфоратор с выступами, имеющими прямолинейные режущие кромки. Длина последних на различных пластинах разная, что позволяет получать сетчатые трансплантаты с большей или меньшей величиной ячеек (рис. 1). Длина выступов является одним из факторов, определяющих коэффициент расширения, по которому будет резаться кожа. Около каждого режущего выступа находится прямоугольной формы отверстие, равное длине выступа. По бокам пластина снабжена направляющими бортами, выполненными в виде загибов (1), которые гарантируют прямой вход и поступательное движение между опорными валиками (рис. 2). Параллельно расположены два опорных валика (2 и 3), связанные между собой посредством зубчатой передачи (4),и с приводом, выполненным в виде рукоятки (5). Валики зафиксированы в боковых стойках (6) корпуса (7) с возможностью замены и перемещения одного из них (верхнего) с помощью винтового механизма. На верхнем валике по краям имеются два круговых углубления, направляющие борозды, расположенные на расстоянии друг от друга соответственно ширине режущего дермоперфоратора.
Рис. 1. Общий вид пластины — дермоперфоратора с острыми выступами.
Рис. 2. Схема устройства для получения сетчатых трансплантатов в сборе: А — вид сбоку, Б — вид сверху.
С целью упрочения выступов с режущими кромками устройство снабжено набором гладких пластин — протекторов различной толщины, а для выключения из рабочего состояния необходимого числа режущих кромок придается набор пластин с прямоугольными тупыми выступами — дифференциалов.
Протектор выполнен в виде жесткой прокладки с линейными сквозными прорезями, расположение которых строго соответствует расположению режущих выступов на дермоперфораторе. Толщина протектора различна (от 0,1 мм с возрастанием на 0,1 мм до 2 мм). В зависимости от толщины перфорируемого кожного лоскута соответственно подбирают протектор, который укладывают на дермоперфоратор, и покрывают его кожным лоскутом. Суммарная толщина протектора и кожного лоскута при этом должна равняться высоте режущего выступа. Протектор повышает прочность режущего выступа дермоперфоратора, ограничивает глубину провала кожного лоскута, что способствует не только значительному увеличению долговечности работы устройства, но и упрощает снятие перфорированного лоскута. Дифференциал выполнен из жесткого материала в виде неровной пластины. Число выступов на различных дифференциалах колеблется, что позволяет получать перфорированные кожные лоскуты с различным коэффициентом растяжения. Высота выступа дифференциала равна высоте режущего выступа дермоперфоратора. Дифференциал устанавливают под дермоперфоратором, при этом выступ проходит через отверстие дермоносителя или сверху, в таком случае он плотно прилегает к боковой стенке режущего выступа, выключая его из рабочего состояния.
Для получения сетчатых трансплантатов кожный лоскут эпидермисом вверх укладывают на режущие элементы дермоперфоратора с предварительным размещением соответствующей толщины протектора (если перфорация предусматривает получение лоскута с максимальным коэффициентом расширения) или дифференциала с избранным коэффициентом расширения и подают в зазор между опорными валиками. Величину зазора устанавливают с помощью винтового механизма. С помощью рукоятки вращательное движение сообщается одному из опорных валиков и через зубчатую передачу — второму валику. Кожный лоскут вместе с дермоперфоратором получает поступательное движение между валиками. Направляющие борты дермоперфоратора входят в круговые борозды верхнего валика, что гарантирует прямолинейность движения. При этом на кожный лоскут одномоментно в шахматном порядке наносятся многочисленные линейные проникающие разрезы, соответствующие длине режущих выступов применяемого дермоперфоратора. В результате нанесения таких разрезов кожный лоскут превращается в сетчатый трансплантат.
About the authors
G. A. Izmailov
Kurashov Kazan Order of the Red Banner of Labor Medical Institute
Author for correspondence.
Email: info@eco-vector.com
Russian Federation, Kazan
R. R. Garaev
Kurashov Kazan Order of the Red Banner of Labor Medical Institute
Email: info@eco-vector.com
Russian Federation, Kazan
L. M. Sadykova
Kurashov Kazan Order of the Red Banner of Labor Medical Institute
Email: info@eco-vector.com
Russian Federation, Kazan
References
Supplementary files




