Optimization of the flow part of a magnetohydrodynamic filter based on numerical simulation using a CFD-code
- Авторлар: Sobornov A.E.1, Ryazapov R.R.1, Matsin N.V.1, Kotin A.V.1, Vorobyev I.V.1, Terekhin A.N.1
 - 
							Мекемелер: 
							
- R.E. Alekseev Nizhny Novgorod State Technical University
 
 - Шығарылым: № 4 (2024)
 - Беттер: 51-63
 - Бөлім: NUCLEAR POWER AND ATOMIC POWER ENGINEERING
 - ##submission.datePublished##: 15.07.2024
 - URL: https://kazanmedjournal.ru/1816-210X/article/view/655841
 - EDN: https://elibrary.ru/ZXKJEK
 - ID: 655841
 
Дәйексөз келтіру
Толық мәтін
Аннотация
The article presents the results of a study that continues a cycle of calculation and experimental work aimed at developing a high-temperature magnetohydrodynamic filter designed for water treatment systems of nuclear power plants. The results of numerical modeling of three design variants of the modernized flow part of the hydrodynamic filter using permanent magnets made of an alloy of iron, boron and neodymium of the N42SH brand are presented. Modeling of hydrodynamic processes in a viscous incompressible fluid flow was carried out in a commercial calculation code using the Reynolds stress model. In this model, turbulent stresses in the fluid flow are nonlinearly related to the velocity components, which leads to a more accurate solution regarding the spatial distribution of velocity within the RANS approach. The optimal value of the magnetic system height, based on the results of the calculation study, was 60 mm. The calculated value of hydraulic resistance at maximum flow rate was 52.94 kPa. The problem of straightening the flow at the outlet section of a magnetohydrodynamic filter in order to minimize the hydraulic resistance of the structure and ensure the most uniform turbulent velocity profile is also investigated. The results of numerical modeling of seven design variants of a flow straightener based on the use of various finning options made of straight plates on the inner generatrix of the channel are presented. The analysis of the results of the calculation study was carried out and the most effective and optimal design of the straightener from the point of view of reliability and ease of manufacture was proposed.
Толық мәтін
Введение
Поддержание нормативной чистоты рабочих сред теплообменного оборудования является важнейшим требованием, предъявляемым к эксплуатации объектов тепловой и атомной энергии. Несоблюдение регламентов поддержания химического режима технологических жидкостей может инициировать процессы разрушения конструкционных материалов теплообменных аппаратов и трубопроводов энергоустановок, обусловленные осаждением различного рода примесей на поверхностях теплообмена, ухудшением теплопередачи и последующим перегревом теплообменных стенок. Исходя из физико-химических свойств примесей, а также конструкционных материалов контуров энергоустановок, следует внимательно подходить к выбору способов очистки и снижения концентрации загрязняющих веществ. В частности, для соединений, обладающих ферромагнитными свойствами, эффективным является использование магнитного поля, под действием которого частицы изменяют траекторию и концентрируются в ловушке. На сегодняшний день можно выделить два основных варианта конструкции магнитных фильтрующих систем. В первом случае в качестве источника магнитного поля используются электромагниты. Такие конструкции имеют ряд недостатков, связанных со сложностью монтажа, дополнительными мерами безопасности и затратами электроэнергии. Альтернативным вариантом является использование постоянных магнитов. К положительным качествам фильтрующих аппаратов на их основе относят простоту конструкции, отсутствие дополнительных источников питания, а также возможность использования таких систем в более агрессивных средах.
Следует отметить, что эффективность магнитных фильтрующих систем можно увеличить за счет гидравлического профилирования проточной части фильтра. Совместное воздействие магнитного и гидродинамического эффектов повышает фильтрующую способность, однако требует тщательного подбора оптимальной геометрии проточной части фильтрующих устройств.
Описание принципа действия фильтра
В научно-исследовательской лаборатории НГТУ им. Р.Е. Алексеева разработан и запатентован действующий прототип циклонного магнитогидродинамического фильтра. Воздействие магнитного фильтрующего эффекта связано с использованием постоянных магнитов марки НМБ 250/160 ГОСТ Р 52956-2008 в составе конструкции фильтра [1]. Основным преимуществом данной разработки является специально подобранная конфигурация проточной части, которая способствует закрутке потока, увеличению времени нахождения примеси в зоне влияния магнитного поля и направлению частиц в застойные области, где происходит их накопление. При помощи CFD-моделирования была проведена оценка гидродинамических сил, получены траектории движения частиц в проточной части и проведен расчет гидравлических характеристик. Для валидации результатов, полученных с применением расчетных кодов, а также подтверждения технических характеристик прототипа проведен ряд экспериментов на испытательном стенде. Исследования проводились при следующих режимных параметрах: давление фильтруемой среды 0,3 МПа; температура среды 40 °С, осредненная скорость потока 2 м/с. В ходе проведения экспериментов было установлено наличие устойчивого вихревого течения высокой интенсивности в выходном патрубке фильтра [2], что негативно сказывалось на гидравлической характеристике экспериментального участка. Следует отметить, что стабилизация турбулентного профиля скорости потока на выходном участке происходила на расстоянии, превышающем 20 гидравлических диаметров. Низкая рабочая температура фильтра, а также существенная длина участка стабилизации профиля скорости потока определили направления дальнейшего усовершенствования фильтра в части адаптации магнитной системы для работы при более высоких параметрах среды, а также сокращения длины стабилизационного участка после фильтра. Очевидно, что устранение данных конструкционных недостатков отвечает требованиям повышения технических характеристик фильтра и способствует повышению конкурентоспособности при внедрении разработки в состав гидравлических и тепловых систем предприятий тепловой и атомной энергетики. Таким образом, оптимизация конструкции фильтра осуществлялась поэтапно:
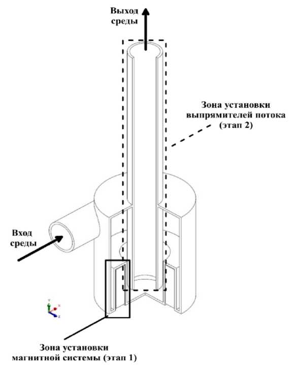
- модернизации проточной части фильтра в зоне установки магнитной системы (этап 1);
 - сокращение зоны локализации устойчивых вихревых структур с применением устройств для выпрямления потока на выходном участке (этап 2).
 
Схема магнитогидродинамического фильтра с зонами проточной части, подвергшимися модернизации, приведена на рис. 1.
Рис. 1. Схема магнитогидродинамического фильтра
Fig. 1. Schematic diagram of a magnetohydrodynamic filter
Описание процесса модификации фильтра и результаты численного моделирования проточной части
К основным мероприятиям первого этапа модернизации модели магнитогидродинамического фильтра следует отнести выбор материала постоянного магнита и варьирование высоты магнитной системы, обеспечивающей необходимое расчетное усилие на ферромагнитную примесь различной дисперсности. В составе модернизированной конструкции фильтра в качестве магнитной системы рассмотрено применение комбинации кольцевых магнитов марки N42SH с внутренним и внешним диаметрами 67 мм и 97 мм соответственно, с различной высотой. Применение данного материала позволяет увеличить максимальную рабочую температуру магнитной системы с 50 до 120 °C. В работе рассмотрены конфигурации магнитной системы высотой 40, 60 и 80 мм, а именно: один магнит высотой 40 мм, комбинация из двух магнитов высотой 40 и 20 мм, комбинация одного магнита высотой 40 мм и двух магнитов высотой по 20 мм.
Варьирование высоты магнитной системы привело к необходимости внесения изменений в геометрию проточной части и корпуса фильтра. С помощью CFD-моделирования для каждой геометрии был определен перепад давления между входным и выходным сечениями фильтра. Моделирование процессов гидродинамики осуществлялось в рамках RANS подхода с применением модели турбулентности Reynolds stress model (RSM). Модель напряжений Рейнольдса примечательна тем, что турбулентные напряжения в потоке имеют нелинейную связь с компонентами скорости, что позволяет получить более точное распределение скорости. Моделирование турбулентных течений несжимаемой жидкости с применением модели RSM базируется на решении системы уравнений Навье-Стокса осредненной по Рейнольдсу, которая включает в себя уравнение неразрывности (1) и движения (2):
, (1)
, (2)
где индексы: i = 1, 2, 3 и j = 1, 2, 3 указывают направления декартовой системы координат xi; ui, uj – компоненты скорости; ρ – плотность жидкости; μ – коэффициент молекулярной вязкости; P – давление; t – время.
Операция осреднения уравнений Навье-Стокса порождает тензор рейнольдсовых напряжений , который должен быть смоделирован для замыкания системы уравнений. Модели семейства RSM для вычисления тензора τij решают шесть уравнений переноса, получающихся из исходных уравнений Навье-Стокса путем математических преобразований [3]:
(3)
где δkj, δik – единичный тензор.
Левая часть уравнения (3) равна полной производной от . Слагаемые в правой части отвечают, соответственно, за турбулентный диффузионный перенос DT,ij, молекулярный диффузионный перенос DL,ij, генерацию рейнольдсовых напряжений Pij, корреляцию пульсаций давления со скоростями деформации Фij и вязкую диссипацию Eij. Слагаемые, соответствующие полной производной от , DL,ij и Pij могут быть вычислены без дополнительных предположений. Однако для расчета DT,ij, Фij и Eij требуется введение замыкающих уравнение (3) предположений.
Для расчета турбулентного диффузионного переноса используется уравнение:
, (4)
где σk – константа, значение которой задается при помощи весовой функции [4], принимает значение σk = 2 в пристенной области и σk = 1 в области основного потока; μt – турбулентная вязкость, вычисляется согласно BSL k-ω модели [4].
Выражение для расчета корреляции давления со скоростью деформации может быть представлено в виде:
, (5)
где Фij,1 – «медленный» член, отличен от нуля при условии анизотропности турбулентного поля и отвечает за перераспределение энергии турбулентности между компонентами рейнольдсовых напряжений в направлении изотропии; Фij,2 – «быстрый» член, за счет флуктуаций давления, вызванных средней деформацией, приводит генерацию турбулентности из анизотропного в изотропное состояние.
В свою очередь, Фij,1 и Фij,2 вычисляются согласно следующим соотношениям:
, (6)
, (7)
где ω – удельная скорость диссипации турбулентной энергии; k – кинетическая энергия турбулентности (); δij – единичный тензор; Sij – тензор скоростей деформации; Skk – дивергенция поля скорости; Dij и P определяются согласно выражениям (8) и (9) соответственно:
, (8)
. (9)
Тензор вязкой диссипации Eij моделируется согласно гипотезе локальной изотропности турбулентных напряжений и определяется выражением:
. (10)
Конечный вид уравнения переноса (3) с учетом соотношений (4-7) и (10) примет вид:
. (11)
Помимо шести уравнений переноса рейнольдсовых напряжений, RSM BSL модель включает в себя уравнение для удельной скорости диссипации турбулентной энергии ω:
, (12)
где α, β, σω, σω2 – набор констант, значения которых меняются во внутренней области пограничного слоя и основном потоке [4]; F – весовая функция; Pk – член генерации турбулентности, определяется согласно уравнению:
. (13)
Расчетная область проточной части фильтра представлена тремя вариантами однородной гексаэдрической расчетной сетки размерностью около 18·106 конечных объемов. Общий вид объемной сетки и ее сечение для варианта исполнения фильтра с высотой магнитной системы 60 мм приведены на рис. 2. Результаты численного моделирования приведены в табл. 1.
Рис. 2. Расчетная сетка проточной части фильтра с высотой магнитной системы 60 мм: а – поверхностная сетка; б – разрез объемной сетки
Fig. 2. Calculated grid of the flow part of the filter with a magnetic system height of 60 mm: а – surface mesh; б – sectional elevation of volumetric mesh
Таблица 1. Результаты численного моделирования возможных вариантов конструкции модернизированной проточной части фильтра
Table 1. The results of numerical modeling of possible design options for the modernized flow part of the filter
Высота магнитной системы, мм  | 40  | 60  | 80  | 
Значение перепада давления, кПа  | 52,18  | 52,94  | 59,78  | 
В результате проведения расчетного моделирования была определена оптимальная конструкция фильтра, высота магнитной системы которого составила 60 мм. Данный вариант исполнения проточной части магнитогидродинамического фильтра содержит значительную область, характеризующуюся интенсивным воздействием магнитного поля. При этом величина гидравлического сопротивления фильтра имеет относительно невысокое значение.
Модернизация выходного участка фильтра
На следующем этапе модернизации проточной части фильтра проводился анализ конструктивных решений, способствующих сокращению зоны образования вихревых структур на выходном участке. Для этого запишем уравнение Бернулли (14) для центра тяжести входного 1 и выходного 2 сечений канала (рис. 3):
, (14)
где z1, z2 – расстояние входного и выходного сечений от дна фильтра, P1, P2 – давление на входном и выходном сечениях, ρ – плотность воды, V – среднерасходная скорость потока, α1 – коэффициент Кориолиса для входного сечения, α2 – коэффициент Кориолиса для выходного сечения, Δh – гидравлические потери между входным и выходным сечениями.
Рис. 3. Расчетная модель: 1 – центр тяжести входного сечения; 2 – центр тяжести выходного сечения
Fig. 3. Calculation model: 1 – center of gravity of the inlet section; 2 – center of gravity of the outlet section
Выразив перепад давления ΔP из (14):
, (15)
и подставив вместо потери напора соотношение (16):
, (16)
где ξ – общий коэффициент потерь, λ – коэффициент трения, l – длина трубы, d – диаметр трубы, ξЭ – эквивалентный коэффициент потерь, получим:
. (17)
На основе анализа уравнения (17) можно сделать вывод о том, что при решении задачи оптимизации проточной части фильтра следует рассмотреть два основных направления: уменьшение величины ξЭ и получение профиля скорости наиболее близкого к турбулентному, а именно, уменьшение α2 до αтурб = 1,05 ÷ 11. Как видно из рис. 3, расчетная модель представляет собой цилиндрический канал длиной 800 мм с диаметром 36 мм. При этом часть канала длиной 400 мм является составной частью фильтра, а оставшаяся представляет собой участок стабилизации. При проведении расчетного моделирования во входном сечении канала задавались поле скорости и турбулентные параметры, полученные в результате ранее проведенного расчетного исследования [5]. Это позволило значительно сократить количество расчетных узлов и, следовательно, времени проведения расчетов.
Необходимо отметить, что, наряду с минимизацией величины гидравлического сопротивления, к основным требованиям, предъявляемым к конструкции выпрямителя потока, были отнесены термоустойчивость, простота конструкции и низкая стоимость изготовления. По этой причине первоначально рассматривались следующие варианты исполнения выпрямителей потока (рис. 4а-г): крестообразная вставка и три варианта оребрения, выполненного на внутренней образующей канала. Ребра выпрямителей данного типа представляют собой прямые пластины, расположенные под углом 90° друг к другу. Высота пластин (рис. 4б-г) составила 13,5, 9 и 4,5 мм. Длина выпрямителей – 400 мм (рис. 4). Критерием выбора оптимальной конструкции выпрямителя являлось снижение интенсивности вихреобразования в выходном сечении канала.
Рис. 4. Геометрия выпрямителей и поля скорости в характерном сечении для: а – крестообразной вставки; б – прямых ребер 13,5 мм; в – прямых ребер 9 мм; г – прямых ребер 4,5 мм
Fig. 4. Geometry of straightener and velocity fields in a typical section for: а – cross-shaped insert; б – straight ribs 13.5 mm; в – straight ribs 9 mm; г – straight ribs 4.5 mm
Анализ поля скорости потока, полученного с применением крестообразной вставки, не позволил установить стабилизации профиля скорости потока в выходном сечении модели. Исходная вихревая структура при этом дробится на четыре независимых вихря (рис. 4а). Расчет оребренной модели с высотой ребра 13,5 мм выявил образование в центральной области потока наличие пяти вихревых структур меньшего размера, которые сохраняют свою устойчивость на всей длине канала (рис. 4б). Эффект разрушения вихревых структур в результате интенсивного переноса импульса в рассматриваемом сечении характерен для варианта выпрямителя с высотой ребра 9 мм (рис. 4в). При дальнейшем уменьшении высоты ребра данный эффект прослеживается менее выраженно.
Снижение высокой степени неравномерности поля скорости на начальном участке выпрямителя за счет обеспечения «плавного входа» потока в область расположения выпрямителя определило дальнейшее направление оптимизации конструкции. В дополнение к конструкциям рассмотренным ранее были предложены следующие: модель со спиральной навивкой на внутренней образующей (рис. 5а); оребренная модель с «плавным входом» и шагом расположения ребер 90° (рис. 5б); оребренная модель с «плавным входом» и шагом расположения ребер 45° (рис. 5в). Высота ребер в обоих случаях составляла 9 мм. Угол наклона ребра в начальном сечении соответствовал углу закрутки потока (около 11°) для обеспечения безударного входа и снижения гидравлического сопротивления.
Рис. 5. Геометрия выпрямителей и поля скорости в характерном сечении: а – спиральная навивка; б – оребрение с «плавным входом» и шагом 90°; в – оребрение с «плавным входом» и шагом 45°
Fig. 5. Geometry of straightener and velocity fields in a typical section: а – spiral winding; б – ribs with «smooth entry» and 90° pitch; в – ribs with «smooth entry» and 45° pitch
Проведенные расчетные исследования показали низкую эфективность применения спиральной навивки. Поле скорости на выходе из такого канала практически идентично полю скорости на выходе из канала без вставки (рис. 5а). Использование моделей с «плавным входом» позволяет исключить образование области с интенсивным вихреобразованием на входном участке, однако с точки зрения стабилизации потока на выходе из канала, данное конструктивное решение показало худший результат по сравнению с моделями с прямыми ребрами (рис. 5б, 5в). Поток содержит вихри в сегментах, ограниченных ребрами, и в цент-ральной части канала.
На заключительном этапе исследования проводилось сравнение профиля скорости в выходном сечении расчетной области, а также величины гидравлического сопротивления на всем расчетном участке. Результаты оценки профиля скорости представлены на рис. 6.
Рис. 6. Профили осевой составляющей скорости
Fig. 6. Axial velocity component profiles
В качестве «эталона» на графике приведен профиль турбулентного потока в круглой трубе [6] при заданной средней скорости. Из графика видно, что профиль скорости в канале без вставки и в канале со спиральной навивкой существенным образом отличается от «эталонного» профиля. Применение других видов выпрямителей потока позволяет приблизить профиль скорости к «эталонному» виду, при этом наибольшую сходимость показывают модели с высотой ребра 9 мм, как с прямыми ребрами, так и с плавным входом.
Результаты расчета величины гидравлического сопротивления моделей с струевыпрямителями различного типа приведены в табл. 2. В качестве референсного приводится гидравлическое сопротивление трубы без вставки. Видно, что для снижения величины гидравлического сопротивления рациональным является применение выпрямителей, имеющих в своем составе прямые ребра с высотой 4,5 и 9 мм. Снижению гидравлического сопротивления способствует установка ребер с «плавным входом» и высотой 9 мм. Таким образом, предпочтительным является применение выпрямителя потока с прямыми ребрами высотой 9 мм. Его установка обеспечивает наилучшую стабилизацию потока и не приводит к существенному увеличению гидравлического сопротивления в рассмотренном диапазоне расходов. Кроме того, данная конструкция отличается простотой и низкой стоимостью изготовления.
Таблица 2. Результаты расчета перепада давления
Table 2. Results of pressure drop calculation
№ п/п  | Модель выпрямителя  | Значение перепада давления, кПа  | 
1  | Прямые ребра длиной 4,5 мм  | 12,32  | 
2  | Прямые ребра длиной 9 мм  | 12,79  | 
3  | Оребрение с «плавным входом» и шагом 90°  | 13,38  | 
4  | Труба без вставки  | 13,40  | 
5  | Прямые ребра длиной 13,5 мм  | 14,39  | 
6  | Спиральная навивка  | 14,69  | 
7  | Крестообразная вставка  | 15,28  | 
8  | Оребрение с «плавным входом» и шагом 45°  | 15,68  | 
Заключение
В результате проведенного расчетного исследования определена оптимальная геометрия проточной части фильтра, предназначенного для систем водоподготовки ЯЭУ. Оптимизация проточной части проводилась с учетом габаритных характеристик магнитной системы, адаптированной для эксплуатации при высоких параметрах фильтруемой среды. Предложены варианты конструктивного исполнения выпрямителей потока, обеспечивающие снижение эффекта закрутки потока в выходном патрубке фильтра. Получены поля скорости и давления для каждой модели выпрямителя. Определены профили скорости в характерном сечении выходного патрубка, а также вычислены значения перепадов давления, связанные с конфигурацией выпрямляющего поток устройства. Выбрана наиболее эффективная модель выпрямителя, удовлетворяющая требованиям, предъявляемым к конструкции фильтра: простота изготовления, низкая стоимость, минимальная величина гидравлического сопротивления.
Авторлар туралы
A. Sobornov
R.E. Alekseev Nizhny Novgorod State Technical University
							Хат алмасуға жауапты Автор.
							Email: wisestjedi@mail.ru
				                	ORCID iD: 0000-0002-1146-3081
				                																			                								
старший научный сотрудник, канд. техн. наук
Ресей, Nizhny NovgorodR. Ryazapov
R.E. Alekseev Nizhny Novgorod State Technical University
														Email: riazapov.rr@nntu.ru
				                	ORCID iD: 0000-0002-8777-4337
				                																			                								
доцент, канд. техн. наук
Ресей, Nizhny NovgorodN. Matsin
R.E. Alekseev Nizhny Novgorod State Technical University
														Email: lebron.09@mail.ru
				                	ORCID iD: 0000-0002-1599-957X
				                																			                								
младший научный сотрудник
Ресей, Nizhny NovgorodA. Kotin
R.E. Alekseev Nizhny Novgorod State Technical University
														Email: an.kotin@yandex.ru
				                	ORCID iD: 0000-0001-8539-8158
				                																			                								
математик 1 категории ИОЦ
Ресей, Nizhny NovgorodI. Vorobyev
R.E. Alekseev Nizhny Novgorod State Technical University
														Email: flymoment@yandex.ru
				                	ORCID iD: 0000-0001-5060-5559
				                																			                								
студент
Ресей, Nizhny NovgorodA. Terekhin
R.E. Alekseev Nizhny Novgorod State Technical University
														Email: zamftf@nntu.ru
				                	ORCID iD: 0009-0002-5518-3687
				                																			                								
доцент, канд. техн. наук
Ресей, Nizhny NovgorodӘдебиет тізімі
- Дмитриев С.М., Треушников М.В., Соборнов А.Е., Рязапов Р.Р., Котин А.В., Мамаев А.В. Патент на полезную модель № 197879 U1 Российская Федерация, МПК B01D 35/06, B03C 1/02. Магнито-гидродинамический фильтр: № 2020109882 : заявл. 06.03.2020 : опубл. 03.06.2020; заявитель федеральное государственное бюджетное образовательное учреждение высшего образования «Нижегородский государственный технический университет им. Р.Е. Алексеева» (НГТУ). – EDN BIRAYH.
 - Дмитриев, С.М. Результаты экспериментального исследования и численного моделирования циклонного фильтра с постоянными магнитами для систем спецводоочистки ЯЭУ / С.М. Дмитриев, А.Е. Соборнов, Р.Р. Рязапов, А.В. Мамаев, А.В. Котин, М.А. Легчанов, М.В. Треушников // Труды НГТУ им. Р. Е. Алексеева. 2022. № 3 (138). С. 54-65.
 - Белов, И.А. Моделирование турбулентных течений / И.А. Белов, С.А. Исаев. – СПб: изд-во БГТУ, 2001. – 108 с.
 - Ansys Fluent Theory Guide 19.0, 2018.
 - Воробьев, И.В. Модернизация проточной части магнитогидродинамического фильтра с применением CFD-кода / И.В. Воробьев, В.П. Иванов, М.А. Налепин, Н.В. Мацин, Р.Р. Рязапов, А.Е. Соборнов // Будущее технической науки: сборник материалов XXII Всероссийской молодежной научно-технической конференции. – Н. Новгород: НГТУ им. Р.Е. Алексеева, 2023. С. 500-501.
 - Кореневский, А.А. Определение профиля скорости в круглой цилиндрической трубе при турбулентном режиме течения с использованием численных методов / А.А. Кореневский, М.В. Рябинин // Экспозиция нефть газ. 2016. № 3 (49). С. 64-70.
 
Қосымша файлдар
				
			
						
						
						
						
					








